用微信扫一扫

网站首页
社团简介
诗坛讯息
诗词速递
经典博览
诗教在线
赛事纵横
诗书画苑
社团期刊
网站互联
当前位置 >> 首页 >> 诗坛讯息 >> 详细信息
中华诗词学会网站个人用户操作指南

发布时间: 2022/12/26 11:11:31    阅读:1979

分享到

春蚕诗词管理员转 东川区春蚕诗社 2022-12-26 11:37 发表于云南

个人如何登录网站操作:会员个人/团体 如何登录:中华诗词学会网站(下以个人身份为例,团体操作相同)

 1.首先在浏览器里打开中华诗词学会网站(网址:www.zhscxh.com )。点击顶部的“登陆”按钮进入登录页面。如下图 2.在登录页面,输入自己的登录名和密码,点击“登录”

特别提醒:新用户由团体导入的话直接从团体负责人索要账号和密码

图片

诗词云平台用户,可用诗词云账号直接登录

会员如何将自己的作品进行分类操作

1.登录后进入个人管理中心,点开作品管理页面  

图片

2.页面左边,“我的文档”为顶级栏目,系统默认为诗和词的一级栏目 图片

3.如果您想把您的作品进行除了诗和词以外的分类,那么,点击我的文档,出现绿色的+ ,如图所示,就可以添加一级菜单了  

图片

 4.点击“绿色的+”,就会出现“新建文档4”即一级菜单创建成功

图片  

5.假设您想创建新诗分类,那么就点击“新建文档4”旁边出现一个笔纸的图标,如下图所示,点击它进行重命名 

图片

 6.如果您想新建“新诗的”分类,那么就将其重命名为“新诗”,点击确定 

进入可编辑模式 

图片

输入新的分类名称后,在空白处鼠标点一下,即一级菜单添加成功 图片

 7.如果您想在一级菜单下继续添加二级、三级菜单,我们系统也支持,但是建议大家最好就建立到二级菜单哦,以防日后平台改版对三级菜单有所限制,这里也将操作步骤讲解一下。方法同一级菜单创建的点击一下刚刚添加的新诗一级菜单旁边出现一个绿色+的图标,点击一下 

重命名即可,同上面一级菜单操作一样  

8.如果想删除分类,那么点击类别名称后会有x的图标,点击即可删除  

图片

9.以上建立的分类会在在添加作品的时候用到哦,如下图,所属文件夹,一定要选泽对应的分类哦,这样的话您的作品才会归属到您建立的分类下面哦 

图片

作品管理

1. 首先打开中华诗词学会网站。点击顶部的“登陆”按钮进入登录页面。 

2.在登录页面,输入用户名和密码,点击“登录”。(特别提醒:诗词云平台用户,可用诗词云账号直接登录,诗词云平台网址 www.shiciyun.com) 

图片

3.登录后,在顶部点击“个人管理中心”,进入个人管理中心。 

图片

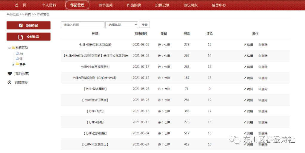
4.点击导航上的“作品管理”,进入作品管理页面。

 

5.点击左侧的“添加作品”按钮,弹出作品添加页面。 

6.填写先关内容(带* 为必填项哦,一定要填写,否则不能提交作品),点击“立即提交”。 添加的作品就出现在作品管理列表中了。 

图片

7.为了方便百度收录你的作品,建议大家可以在关键字里写内容哦,规则:姓名+作品标题关键字,

如:张三 静夜思    (中间用空格或者用英文格式的,相隔)如下图: 

图片

如果您是某团体的会员,在作品列表中会看到推送按钮,如下图所示,点击推送,可以看到相应的团体哦!直属会员可以直接向学会推送作品,如果同时属于多个学/协会的直属会员,则系统默认把作品推向最下级学会。如,同时属于省、市、县级直属会员,那么,可以其作品将推送到县级学会,如果想推送到市,则可以取消县级直属会员。这样就可以直接推送到市,如果再取消市直属会员,则会将作品推送到省级学/协会

作品投稿

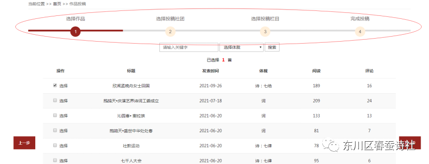
1.登录后点击右上角管理中心,点击导航上的“作品投稿”按钮,进入投稿页面。 

图片

2.进入投稿页面,一共分4步操作,如下图所示 

图片

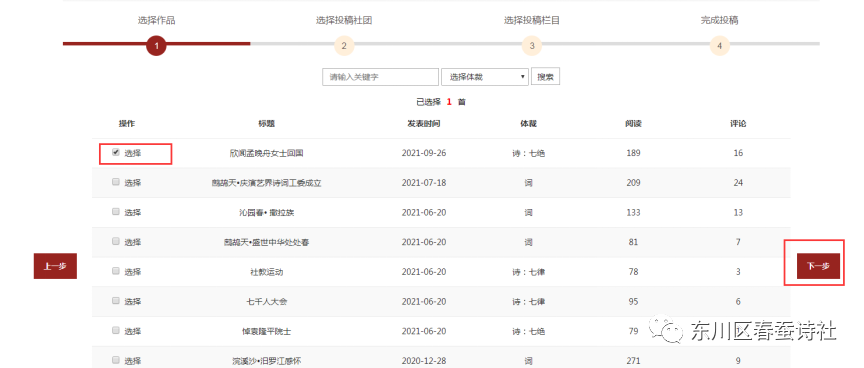
3.勾选需要的投稿的作品(作品标题前),点击右侧的“下一步”按钮。 

图片

4.选择投稿社团,点击所有社团将会显示目前入驻平台所有的团体,点击我的社团将显示我目前加入的社团,诗友们按照实际需求选择团体即可

5.进入第二步“选择投稿社团”,选择要投稿的社团点击右侧的“下一步”按钮。

注:社团只有开放某些栏目的投稿权限,才会被显示在这里。图片

6.选择投稿栏目,在栏目名称前点击一下,如下图所示,然后点下一步

 图片

6.完成投稿

图片

诗坛网友:

重点讲解添加好友和待审核请求处理

添加好友:

1.登录后进入个人管理中心——诗坛网友栏目       

2.点击我的好友——搜索会员 

图片

图片

3.在搜索栏中输入想要添加的这位好友的姓名或者手机号,进行搜索

4.搜索出来的会员页面上,点击加好友

显示添加成功,点击确定即可

 图片

加好友记录

1.加好后可在加好友记录里查看到,经过对方审核后就正式成为好友啦,待审核状态会变成已通过哦 

好友列表

1.好友列表里显示的就是您在平台上所有的好友哦 

图片

我的收藏

1.这里可以看到已收藏好友的主页或收藏自己喜欢的网址哦

图片

待审核请求处理

1.点击”待审核请求”。这里显示所有的加好友请求,在待审核人下方,有2个按钮“同意”“拒绝”。如果同意则点击“同意”,反之,则点击“拒绝”。 

图片




地址:昆明市东川区铜都街道凯通路35号四楼春蚕诗社。

邮编:100007邮箱:645425913@qq.com联系电话:13908808379苏ICP备12063804号-2

技术支持: 江苏书妙翰缘科技发展有限公司诗词云

诗词云公众号